REONの2022年度第2学期の成績は...!?

こんにちは REONです。
長らく更新していなくてすいません…
バイト・勉強・ボランティア・家事などでなかなか更新できず、気付いたらとんでもなく時間がたっていました、、、
大変申し訳ございません!!、、、
気を取り直して、、、今回の記事ではですね、2月17日に2022年度第2学期の試験結果が発表されたので、僕の成績を大公開したいと思います!!
それでは見ていきましょう!
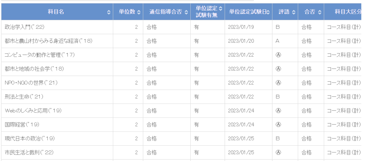
今学期に僕が履修した科目
- NPO・NGOの世界
- 都市と地域の社会学
- 刑法と生命
- 国際経営
- 都市と農山村からみる身近な経済
- 政治学入門
- 市民生活と裁判
- 現代日本の政治
- webのしくみと応用
- コンピューターの動作と管理
- 緑地環境の計画 (オンライン授業)
計 11科目 22単位
今学期で初めて印刷教材を10科目、つまり試験を10科目受験することになりましたが、本当に大変でした…
2022年度の第1学期に印刷教材を9科目履修しましたが、1つ印刷教材が増えるだけでもこんなにも負担が増えるのだなと実感しました…
特に
「刑法と生命」
「コンピューターの動作と管理」
「政治学入門」
の三科目に関しては非常に難しく苦戦しました…
「刑法と生命」は内容はとても面白い印刷教材で、僕の中でのトップ5に入るくらいのお気に入り教材でしたが、通信指導・単位認定試験ともに難しく大変でした。
難し過ぎて、試験中に一瞬フリーズしました…(笑)
「コンピューターの動作と管理」と「政治学入門」に関しては量が多かったり、専門知識が求められる教材でしたので難しかったです。
やっぱり「入門」というワードが入っている科目は難しい…
あと、「コンピューターの動作と管理」は、試験も難しかったですが、なにより試験中にトイレに行きたくなって、本気で焦りました…(笑)
そして運命の日・・・

そして、2023年2月17日 午前10時 成績発表当日…
10時になった瞬間にシステムWAKABAにログインし、履修成績照会ページに入り結果を確認すると…

無事、全科目合格していました...( ノД`)シクシク…
もう在籍して2年が経ちますが、正直なところ、合格の嬉しさよりも落単していなかったことの安堵感しかありませんでした、、、
とにかくホッとしました…(笑)
特に、今学期に関しては本当に余裕がなかったので、より安堵感が大きかったです。
それでも全科目合格していたので本当によかったですし、なにより安心しました。
ただ、前学期の成績はB判定がなかったのですが、今年は少しB判定が多くなってしまったことは悔しいですね。
「コンピューターの動作と管理」は、意外にも〇A判定でしたが、苦手としていた「刑法と生命」「政治学入門」でB判定を取ってしまったので、まだまだ努力不足だったと感じています。
C判定とかはなかったので良かったものの、やっぱりB判定はなるべく少なくしたいです。
それでも、A判定や〇A判定の方が多かったので、全体的にはよかったかなと感じています。
それに6個も〇A判定があったので、かなり嬉しかったですね。
次の試験では、また全科目A判定以上を目指して頑張ります。
2023年度第1学期の履修科目は
生活経済学
現代の国際政治
新時代の組織経営と働き方
情報デザイン
映像コンテンツの制作技術
メディア論
メディアと知的財産権 (オンライン授業)
計 7科目 14単位
を履修しようと思っています。
卒業まで残すところあと40単位となりました。
今年は、30単位を履修予定ですので今年が終われば、いよいよ卒業が間近に迫ってきます。
卒業まであともう少し!!
今年も全力で頑張ります!!
それではまた!!
この記事を書いている人
REON

現役の19歳放送大学生(社会と産業コース所属)
中学1年生の時に学校に馴染めずに不登校を経験。
別教室に通い、そこから成績が徐々に向上。
高校は、通信制高校に進学し、高校1,3年生の時に
最優秀生徒賞と学業優秀賞を授与される。
その後、放送大学に進学し経済学、法律、情報学を勉強中。
目標は、放送大学を4年で卒業し、就職して通信制大学でも就職できることを証明すること。
そして、放送大学のみならず、通信制大学の将来性と素晴らしさを伝えること。
reonのTwitterアカウント REON Blog (現役放送大学生)さん (@BlogReon) / Twitter